产品功能简介:肝储备功能是指所有正常肝细胞功能的总和,它反映肝脏潜在的功能状况,尤其体现在患者对手术的耐受程度以及肝脏收到损失之后的恢复能力。本分析仪可实现在体、无创测量,检测精度高、稳定性强、成本低廉,为临床肝脏手术提供准确的肝储备功能评估结果。
产品检测原理:采用吲哚氰绿ICG指示剂进行浓度稀释和排泄试验的色素浓度测量方法,是国内外医学临床普遍采用的肝脏储备功能检测技术手段。ICG经静脉注入血液后能迅速与血浆蛋白结合,随动脉血分布全身,只被肝细胞吸收并排泄至胆汁中,其在血液中的浓度呈指数规律下降,下降趋势的斜率即为血浆消失率K(/min),它表示血液中的ICG浓度每分钟减少的速度,血浆清除率可以体现肝脏的血流供应情况和肝细胞功能;15分钟滞留率R15表示ICG给药15分钟后,血液中ICG残留比例,直接反映了肝脏累计的损伤程度。两者为相反的关系,均反映出肝脏的异物排泄能力。
脉搏波色素浓度法[1]:血液可认为是一种溶液,溶剂是血浆,溶质是血红蛋白,当注入另一种溶剂吲哚氰绿后,血浆溶液中含有两种溶剂。因为这两种物质对不同波长的单色光有自己的敏感度。我们可以利用这种敏感度的差异,用不同两路波长的光线照射溶液,测量其差异从而得到两种物质浓度之比。因为血红蛋白浓度是临床上多种检测方式都用到的基本参数,一般患者做血常规等检测时便能得到,故较易获得。我们能够算出血红蛋白与吲哚氰绿的浓度比值,从而能够算出应多青绿的浓度。因为整个过程由于肝脏对吲哚氰绿的发泄作用,其浓度是一个不断变化,指数衰减的过程,把整个浓度曲线分别画在直角坐标系和半对数坐标系中,就能得到吲哚氰绿浓度衰减曲线。

图1
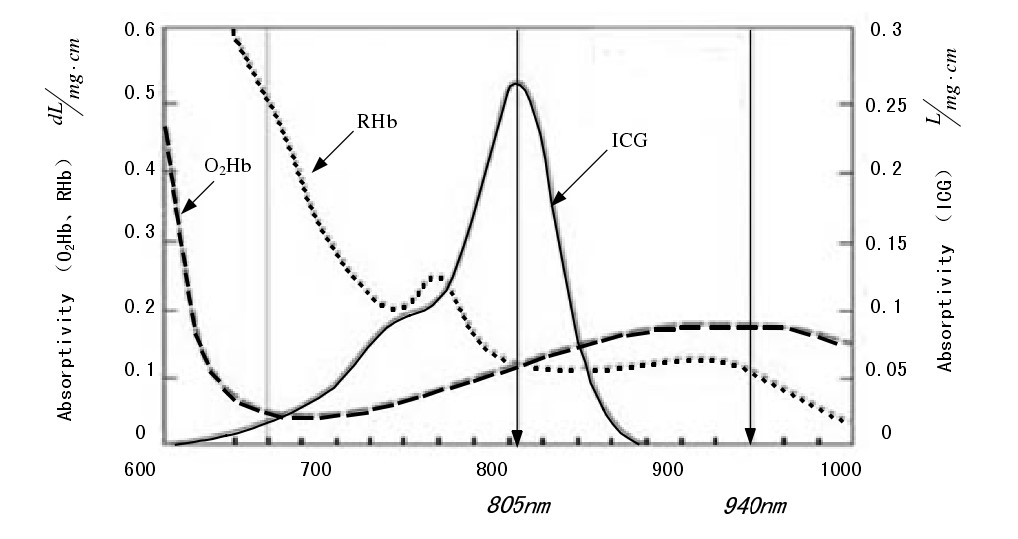
色素浓度检测原理:如图1所示,色素 ICG 在光波长 805nm 下,具有吸光的峰。在 940nm 下几乎没有吸光。805nm 的光照射手指,用光接收元件检测注入 ICG 后的透过光时,可得出ICG 的浓度变化。可是,透过光信号根据组织或血液的厚度等发生变化,所以,仅靠 805 信号还不能计算出色素浓度的绝对值。
为此,用 940nm 的对 ICG 浓度没有影响的光同时检测,去除色素浓度之外的因素,就能求出色素浓度的绝对值。

图2
